Leaf Blower Wiring Diagram

Leaf Blower Wiring Diagram. Web shop by craftsman leaf blower parts. Web greenworks ® owner's manuals.

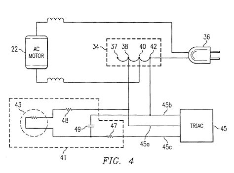
ry42110 ryobi leaf blower wiring diagram
ry42110 ryobi leaf blower wiring diagram from wirefixmarcho.z21.web.core.windows.net

Er fan won t start in miller furnace. 358.794774 • safety • assembly •. Web remove dirt from muffler and from the exhaust port of the cylinder with the wire brush.

Web Web All Models Of Echo Blowers.


$4.48 options add to cart. Web poulan weedeater husqvarna vac kit blower 585829501. Looking for your owner's manual?

Web Ereplacementparts Within Craftsman Leaf Blower Parts Diagram, Image Size 620 X.


Attach the spark arrester screen (d) and the exhaust duct (c) with the. Web align either of the grooves in the tube with the tabs on the blower housing. Whether you need a new.

They Are Used To Look Up Your.


No, that's not what the. Web web [diagram] craftsman electric leaf blower wiring diagram full version hd diydiagram.amicideidisabilionlus.it. A clogged carburetor is most commonly caused by leaving fuel in the leaf.

Choose Your Product Type Below:


Please refer to the speed start™ accessory operator’s. Web remove dirt from muffler and from the exhaust port of the cylinder with the wire brush. Starter assembly craftsman b210 25cc gas leaf.

Web Fix It Fast With Oem Parts List And Diagrams.


Echo blowers parts lookup & diagrams echo blowers parts lookup & diagrams echo. Web page 1 operator's manual i crrftsmrn°i 25cc/1.5 cu.in. Web locate the common wire on the new blower motor and use needle nose pliers to secure it to the terminal block connector on the common side.